○松川町防災行政無線局運用管理規程
平成31年3月18日
告示第11号
(趣旨)
第1条 この規程は、松川町防災行政無線局(松川町の防災及び行政事務に関し、必要な通信を行うことを目的として町が設置する無線局(電波法(昭和25年法律第131号)第2条第5号に規定する無線局をいう。以下同じ。)の総体をいう。)の運用管理について、同法及び関係法令に定めのあるもののほか、必要な事項を定めるものとする。
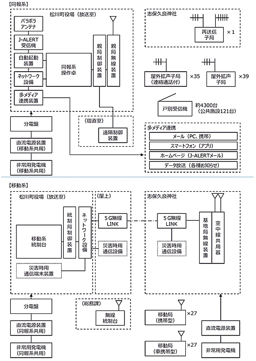
(1) 陸上移動局 陸上を移動中又は特定しない地点に停止中に運用する車載、可搬又は携帯型の無線局をいう。
(2) 移動系基地局 陸上移動局を通信の相手方として、志保久良神社に設置する移動しない無線局をいう。
(3) 同報系親局 特定の2以上の受信設備に対し、同時に同一内容の通報を送信する無線局であって、松川町役場庁舎内に設置するものをいう。
(4) 同報系子局 同報系親局の通信の相手方となる受信設備をいう。
(6) 無線従事者 無線設備の操作を行う者であって、総務大臣の免許を受け、かつ、当該無線設備を操作する資格を有する者をいう。
(無線局の回線構成等)
第3条 無線局の回線構成及び配置等は、別表のとおりとする。
(総括管理者)
第4条 無線系に総括管理者を置き、総括管理者には町長をもって充てる。
2 総括管理者は、無線系の管理及び運用の業務を総括し、次条第1項の管理責任者を指揮監督する。
(管理責任者)
第5条 無線系に管理責任者を置き、管理責任者には総務課長をもって充てる。
(通信取扱責任者)
第6条 無線系に通信取扱責任者を置き、管理責任者が職員の中から無線従事者の資格を有する者を指名し、これに充てる。
(管理者)
第7条 移動系基地局及び同報系親局の通信操作を行う各課等に管理者を置く。
2 管理者は、各課等の長をもって充てる。
3 管理者は、管理責任者の命を受け、当該各課等に設置した無線局又は施設等の管理及び監督の業務を所掌する。
(無線従事者の配置及び養成等)
第8条 総括管理者は、無線局の運用に必要な員数の無線従事者を配置するものとする。
2 総括管理者は、無線従事者の適正な配置を確保するため、常に無線従事者の養成に留意するものとする。
3 総括管理者は、無線従事者名簿(様式第1号)を毎年4月1日に作成し、無線従事者の現状を把握するものとする。
2 移動系基地局に配置された無線従事者は、その通信の相手方である陸上移動局の通信取扱者の無線設備の操作を指揮監督する。
(通信取扱者)
第10条 通信取扱者は、無線従事者の管理のもとに電波法等関係法令を遵守し、法令に基づいた無線局の運用を行う。
2 通信取扱者は、無線局の運用に携わる一般職員とする。
(備付け書類等の管理)
第11条 管理責任者は、電波法等関係法令に基づく業務書類を管理保管する。
2 管理責任者は、電波法令集を常に現行のものに維持しておくものとする。
3 無線業務日誌は、毎日、管理責任者及び通信取扱責任者の査閲を受けるものとする。
4 通信取扱責任者は、無線業務日誌抄録(様式第4号)を、毎年1月から12月までの分を翌年1月末までに作成し、管理責任者に提出するものとする。
5 管理責任者は、無線検査簿、無線従事者名簿、無線業務日誌、無線業務日誌抄録及び無線従事者選(解)任届(様式第5号)を整理保管しておくものとする。
(無線局の運用)
第12条 無線局の運用方法については、別に定める要綱によるものとする。
(無線設備の保守点検)
第13条 無線設備の正常な機能維持を確保するため、町は定期的に無線設備の保守点検を行うものとする。
2 保守点検の区分は、毎日点検、毎月点検及び年点検とし、その要領は次の表のとおりとする。
区分 | 毎日点検 | 毎月点検 | 年点検 | |
実施監督者 | 通信取扱責任者 管理者 | 管理責任者 | 総括管理者 | |
実施者 | 通信取扱者 | 管理責任者 | 専門業者 | |
時期 | 使用の都度 | 毎月末 | 年1回 | |
点検整備対象 | 移動系基地局設備 | 日常通信にて実施。 | 日常通信にて実施。 | 別に定める保守委託契約による。 |
陸上移動局設備 | ||||
同報系親局設備 | ||||
同報系子局設備 | ||||
点検項目 | 通信明瞭度 | 通信明瞭度 | 機器性能 | |
3 年点検及び故障時の修理は、専門業者と保守委託契約を結び実施するものとする。
4 予備装置及び予備電源については、毎月1回以上使用し、その機能を確かめておくものとする。
5 点検の結果異常を発見したときは、直ちに管理責任者に報告するものとする。
(通信訓練)
第14条 総括管理者は、災害発生時に備え、通信機能の確認及び通信運用の習熟を図るため、次により通信訓練を行うものとする。
(1) 総合防災訓練に併せた総合通信訓練 毎年1回以上
(2) 定期通信訓練 四半期ごと
2 訓練は、通信統制訓練、情報収集及び伝達訓練を重点に行うものとする。
(研修)
第15条 総括管理者は、毎年1回以上通信取扱責任者等に対して、電波法等関係法令及び無線機の取扱要領等の研修を行うものとする。
(補則)
第16条 この規程に定めるもののほか、必要な事項は別に定める。
附則
この規程は、公布の日から施行する。
別表(第3条関係)
松川町防災行政無線施設システム図





